Buscar este blog

Smiley face
Smiley face
Smiley face
Smiley face

miércoles, 20 de enero de 2021

72.- Aprendiendo electronica Circuitos integrados analogicos... Operacionales... y 78XX

 Aprendiendo como se conectan la mayoria de los operacionales, tambien adjunto 78XX y sus rangos de tension... 



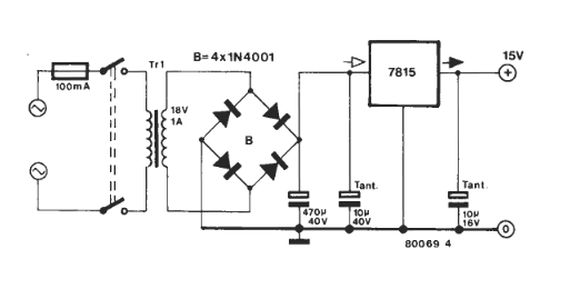
Os dejo un circuito basico con los 78XX... ya depende de como querais construirlo, con un mejor filtro o diodos mas grandes...







1 comentario:

  1. Este comentario ha sido eliminado por un administrador del blog.

    ResponderEliminar